Для навески дверей (фасадов) на шкафы кухонного гарнитура применяются различные виды мебельных петель. Кроме того, что все петли имеют конструктивные особенности, заложенные различными производителями, они различаются по типу конструкции, виду монтажа, типу фасада, углам открывания и установки, наличии амортизации. Для различного вида шкафов - прямых, угловых, скошенных, имеющих фальшпанель и т.д. применяются мебельные петли с различными углами установки. Характеристика "угол открывания" показывает насколько широко будет распахиваться до упора ограничителя дверка шкафа. Дверки кухонных шкафов (фасады) бывают трех основных типов - деревянные, алюминиевые и стеклянные. Для каждого типа предусмотрен свой тип петли. По типу петли могут быть : накладными, полунакладными и вкладными. Накладная петля
Основной вид петли для накладной деревянной двери. Применяется в большинстве бюджетных кухонных шкафах. Крепится саморезами. Фрезеровка в фасаде под петлю 35 мм. Полунакладная петля
Данный тип петли позволяет навесить два фасада на одной стенке шкафа в разные стороны (пример на схеме). Вкладная петля
Данный тип петли применяется когда нужно разместить фасад внутри периметра шкафа. В кухонных шкафах вкладные и полунакладные петли применяются для шкафов под вытяжку. Петля 45°
Петля применяется на навесном равностороннем угловом шкафу. Петля 180°
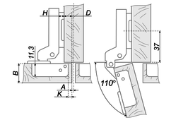
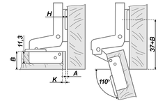
Петля применяется на нижнем угловом шкафу с фальшпанелью. Петля устанавливается на фальшпанели углового шкафа. Это позволяет открыть дверь в угол шкафа и не создавать препятствий доступа к мойке в открытом виде. С этой же целью можно применить петлю 90° но с большим углом открывания закрепив ее на боковине шкафа:
Это основные виды петель. Естественно все виды описать невозможно. Статья дает лишь представление о классических принципах действия мебельной петли на примере петель Boyard. На последнем рисунке петля компании Hettich с амортизатором, доводчиком и демпфером открывания без использования дверной ручки. Источник: https://www.boyard.biz/ |








